
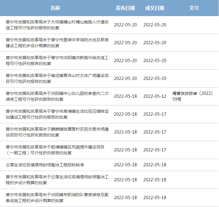
近日,据小房君了解,普宁一批工程项目可行性研究报告和初步设计概算获批复,涉及大坝镇、里湖镇、洪阳镇、南径镇、高埔镇、麒麟镇、船埔镇、云落镇,涵盖道路改造、广场建设、校舍装修、生活垃圾转运站、农贸市场等,具体内容如下:



普宁市洪阳镇洪新路升级改造工程

为提升镇区公共服务能力,打造美丽圩镇,实现乡村振兴,项目建设地点位于普宁市洪阳镇镇区。工程建设起点位于洪阳镇区,从池揭公路(S236线)起处,终点洪山桥头,途经新安村、昆安村、和安村,全长2200米;原路基宽度18米,计划建设9米宽路面升级改造为沥青砼路面,配套排污排水及路灯设施。修补破损砼路面,路肩硬化,交通安防等。项目拟建设工期8个月,估算总投资442.12万元,其中工程费396.27万元、工程建设其他费用32.97万元、预备费12.88万元。

普宁市高埔镇生活垃圾压缩转运站建设工程

为进一步巩固人居环境整治成果,提升镇区公共服务能力,项目建设地点位于普宁市高埔镇高埔村,工程主要新建一座生活垃圾压缩转运站单层混凝土房,建筑面积235.2平方米,配套垃圾压缩车等;周边场地硬化600平方米;室内水电安装、化粪池;边坡防护设计522平方米等。项目拟建设工期5个月,估算总投资360.10万元,其中:工程费343.41万元、工程建设其他费用16.69万元。

南径镇青洋山村文体广场建设项目

为实现乡村振兴战略、打赢脱贫攻坚战,更好服务区域经济社会发展,项目建设地点位于普宁市南径镇青洋山村,建设内容主要包括文体广场建设,面积5000平方米;配套建设跑道、各类球场、健身广场等,配备有相关的文体器材,打造广场绿化景观,完善文体活动场所。项目拟建设工期6个月,估算总投资264.85万元,其中工程费240.05万元、工程建设其他费用24.80万元。

洪阳镇中心幼儿园校舍室内二次装修工程

为改善办学条件,优化办学环境,提高教育质量,项目建设地点位于普宁市洪阳镇镇区,工程主要是对洪阳镇中心幼儿园校舍室内二次装修;主要建设内容包括(1-4层)室内装饰、安装、架层及配电房等;装修面积5480平方米,抹灰墙、柱面装饰工程4332.14平方米,涂膜屋面及防水工程2958.44平方米,吊顶天棚工程513.5平方米,铺贴楼地面装饰工程6982.43平方米,抹灰面油漆、涂料、裱糊工程12535.33平方米,配套洗漱台柜32组。项目拟建设工期6个月,估算总投资263.43万元,其中:工程费249.88万元、工程建设其他费用13.55万元 。

大坝镇横山村横山南路人行道改造工程

为提升镇区公共服务能力,打造美丽圩镇,实现乡村振兴,项目建设地点位于普宁市大坝镇横山村。道路全长约474米,规划人行道采用的红色混凝土地面,四边贴灰麻花岗岩石板分隔;人行道高低处设置无障碍坡道及步级,面层均贴灰麻花岗岩石板;配套绿化等。项目拟建设工期8个月,估算总投资218.26万元,其中工程费193.86万元、工程建设其他费用18.04万元、预备费6.36万元。

船埔镇镇区风貌提升建设项目(一期工程)

为提升镇区公共服务能力,打造美丽圩镇,实现乡村振兴,项目建设地点位于普宁市船埔镇镇区,项目为普宁市船埔镇镇区风貌提升第一期工程,主要建设内容包括镇区3条商业街总长约3公里风貌提升,改变沿街商铺立面面貌,包括街边商铺立面统一改造,路肩硬底化并在道路绿化区域增加多层次植物等。项目拟建设工期3个月,估算总投资199.76万元,其中:工程费187.74万元、工程建设其他费用12.02万元。

洪阳镇专职消防队营房装修及配套设施工程

为提升消防队伍综合应急救援能力,强化消防体系建设,有效保障人民群众生命财产安全,项目建设地点位于普宁市洪阳镇S236省道普宁市自然资源局洪阳管理所旁,项目建设内容及规模为工程总装修面积871.55平方米;主要建设内容为:土建装修(一层设立停车库、器材室、卫生间、厨房、餐厅,二、三层设立宿舍及会议室等)和水电安装(电气安装:插座、配管、配线、配电箱、照明开关、灯具、监控、网络等;给排水安装:给排水管、稳压给水设备、热水器、洁具安装等)。项目建设期限3个月,概算总投资152.31万元,其中工程费用143.29万元,工程建设其他费用9.02万元。

普宁市里湖中学消防水池及泵房建设工程

为满足校舍消防需求,确保生命财产安全,项目建设地点位于普宁市里湖中学校区内,工程主要建设消防水池及泵房一座,地下一层,建筑面积142.5平方米,有效容量324立方米,建成后可解决综合楼、学生宿舍楼及食堂楼消防给水问题,确保校园消防安全。项目概算总投资166.25万元,其中工程费用149.53万元,工程建设其他费用16.72万元。建设期限3个月。

麒麟镇姚厝围村农贸交易市场建设项目

为实现乡村振兴战略、打赢脱贫攻坚战,更好服务区域经济社会发展,项目建设地点位于普宁市麒麟镇姚厝围村,项目主要对姚厝围村老菜街农贸市场进行升级改造,用地总面积589.45平方米,总建筑面积为384.27平方米,建筑层数为1层,高度为6.1米,以及配套相关设施。项目拟建设工期6个月,估算总投资130.99万元,其中:工程费120.41万元、工程建设其他费用10.58万元。

云落生活垃圾填埋场封场整治工程

为妥善解决填埋场存在问题,及时消除安全和环境隐患,项目建设地点位于普宁市云落镇云楼村北侧山谷(普宁市云落生活垃圾填埋场内),工程以应急填埋区的防渗膜覆盖为主,辅以调节池整治、场内渗漏整治、排水渠修复完善等整治。主要建设内容有(1)老调节池渗漏整治工程;(2)应急填埋区堆体修整及防渗覆盖工程;(3)截洪排水渠疏浚及修复工程。项目拟建设工期5个月,估算总投资719.68万元,其中工程费623万元、工程建设其他费用96.68万元。